
DOP液槽式高效送风口
DOP高效送风口也叫DOP液槽式高效送风口又称DOP高效过滤器送风静压箱统称为DOP送风口,是高效过滤器应用于送风系统中的中间装置,目的是为了空气在通过高效过滤器之前获得理想的静压,使高效过滤器得到合理使用。其特点是结构紧凑、性能可靠、通风性强、安装方便、维护简单。DOP、压差检测口,液槽、下调式风阀,旋流等各类扩散面板,一应俱全。

DOP高效送风口|液槽密封式高效送风口为千级、万级、十万级净化空调系统较为理想的终端过滤装置,是满足净化要求的关键设备,可广泛于医药、卫生、电子、化工等行业的净化空调系统。
DOP高效送风口包含静压箱,散流板,液槽高效过滤器,和风阀。与风管的接口可为顶接或侧接。液槽密封式设计进一步增强其密封性和独特性。
配套使用我司自产的液槽高效过滤器的框架周围有密封胶槽。在安装过程中,装有密封胶槽与箱体四周的刀边相嵌套形成气密密封。且在更换过滤器的过程中密封胶不会黏着在箱体四周的刀边上。
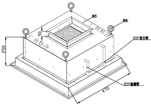
独特的液槽密封方式,自带PAO发尘口和浓度取样口,完全满足新版GMP-E规范要求。

DOP高效送风口产品构成及规格表:
DOP高效送风口箱体材质:冷轧钢板静电喷塑、可以提供不锈钢或者铝板材质。
DOP高效送风口散流板:冷轧钢板静电喷塑、可以提供不锈钢材质。
DOP高效送风口散流板类型:散流面板、可以提供圆孔板、漩涡扩散板或四路散射板。

DOP液槽式高效送风口配备过滤器:液槽式高效过滤器;过滤器滤料:超细玻璃纤维;过滤器效率:H13/H14/U15三种效率可供选择。液槽胶:聚亚氨酯胶。密封胶:阻燃性聚氨酯胶;分隔物:热塑性胶;护面网:喷塑钢板网。
DOP高效送风口其特点是结构紧凑、性能可靠、通风性强、安装方便、维护简单。
DOP、压差检测口,液槽、下调式风阀,旋流等各类扩散面板,一应俱全。
高效送风口包括有隔板高效过滤器送风口和无隔板高效过滤器送风口。两都之间区别在于使用的为有隔板高效过滤器和无隔板高效过滤器。

DOP高效送风口产品特点:
1、整体密封设计,从设计上彻底杜绝上下流泄漏的可能。
2、冷轧钢板焊接,并做打胶密封处理,箱体表面采用静电喷塑处理,耐腐蚀性强。
3、特殊的风阀调节装置,在风口底部可方便调节风量。
4、独特的液槽密封方式,自带PAO发尘口和浓度取样口,完全满足新版GMP-E规范要求。

DOP高效送风口优点:
1、液槽送风口采用刀边型插入液槽过滤器的果冻胶内实现密封,避免了送风从安装间隙处泄漏,可一次性的通过DOP发尘的完整性检测;
2、液槽送风口上安装两个DOP接头,一个发尘,一个检测,方便用户在过滤器出风面对单台过滤器进行DOP发尘检测和测试高效过滤器的压差,快拆接头下接的软管通到箱体底,这样可以保证过滤器上游发尘浓度均匀;
3、旋转式压块,方便过滤器的安全、快速更换;液槽密封保证更换过滤器无泄漏;
4、液槽送风口跟普通送风口一样,可以做GH320,GH484,GH610,GH630,GH726,GH915,GH968,GH1220,GH945,GH1260等标准型,同时尺寸也可以根据客户的要求制作。
我司现有的液槽过滤器铝型材:80,90,150,220,可以配150,220厚度的有隔板高效过滤器,也可以配80厚度的无隔板高效过滤器.按风管的接入位置分为顶部送风和侧面送风.其中顶部送风可以在进风口加焊均流板,使箱体内的静压更加均匀,同时使过滤器出风面的风速更均匀。
DOP下调式送风口(在过滤器出风面可以调节风量)也上线,可以满足不同客户的特殊要求。
DOP液槽高效送风口规格尺寸及其它参数:

产品来源:广州梓净http://www.025kw.cn转载请注明来源!


高效送风口规格尺寸
超薄高效送风口
1000风量高效送风口
DOP液槽式高效送风口
纱网高效送风口
高效送风口